تینا مزدکی_ غولهای فناوری هر روز تلاش میکنند تا به قابلیتها و تکنیکهای جدیدی دست پیدا کنند که باعث برتری آنها نسبت به یکدیگر میشود. اکنون به کمک ویژگی ژست حلقه گلکسی سامسونگ (Galaxy Ring)، این امکان فراهم شده است که علاوه بر گوشیهای هوشمند، تبلت یا لپتاپ خود را هم درست مانند فیلمهای تخیلی کنترل کنید؛ در واقع با این ویژگی میتوانید نمایشگر را کنترل کنید، ابزارهای صفحه را جابهجا کنید. با این ویژگی جدید، حتی میتوانید پنجرهها را بین دستگاههای مختلف خود جابهجا کنید. در این مطلب به بررسی حلقه گلکسی سامسونگ میپردازیم.
اکنون سامسونگ در حال کار کردن بر روی ویژگی جدیدی که میتواند در استفاده از تبلت و لپتاپ کاربران هم مفید واقع شود و استفاده از آن را بهبود ببخشد. پتنت جدیدی که توسط ۹۱Mobiles شناسایی شده است، حق اختراعی را نشان میدهد که به وضوح به حلقه هوشمندی اشاره میکند که میتواند برای کنترل و دستکاری پنجرهها در دستگاه هایی مانند Galaxy Book و Galaxy Tab سامسونگ استفاده شود.
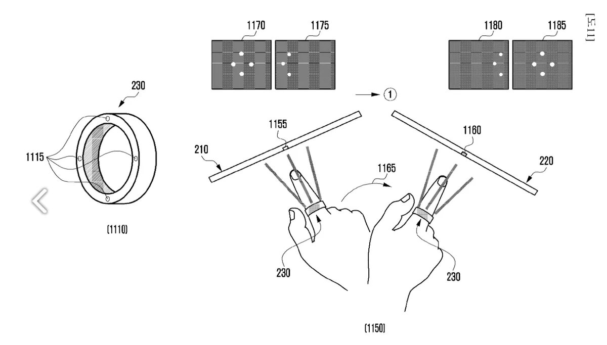
اگرچه ممکن است به نظر برسد که این حق ثبت اختراع چندان خاصی نیست اما تصاویری که توسط سامسونگ ارائه شده است، تصویر بسیار واضحتری از نحوه عملکرد این فناوری به ما میدهد. حلقه گلکسی که در آینده توسط سامسونگ عرضه خواهد شد (حلقه گلکسی ۲ که جاهطلبانه هم به نظر میرسد) میتواند به دستگاههای دیگری که دارای نمایشگر هستند متصل شود، با آنها ارتباط برقرار کند و از حرکات برای کنترل آنچه روی صفحه است استفاده کند.


حلقه گلکسی سامسونگ، ورق را برمیگرداند
نمودار ثبت اختراع نشان میدهد که این حلقه میتواند به طور همزمان به چندین دستگاه متصل شود. با برقراری این اتصال بین آنها، دستگاهها میتوانند موقعیتهای نسبی خود را نسبت به حلقه و نسبت به یکدیگر تعیین کنند. نحوه این اتصال درست مانند اتصال یک ماوس است که شما میتوانید در تنظیمات، آن را برای استفاده میان چند مانیتور پیکربندی کنید. جالب است بدانید که حتی میتوانید از حلقه گلکسی (یا دستگاهی مانند S Pen سامسونگ) برای جابجایی اشیا روی صفحهنمایش یا حتی جابهجایی پنجرهها بین دستگاهها به روشی شبیه به ویژگی کنترل جهانی اپل استفاده کنید.

این دومین پتنت ژست حرکتی سامسونگ است که در چند ماه اخیر شاهد آن بودهایم. در ماه ژانویه، فاش شد که سامسونگ در حال کار بر روی تبدیل ساعت هوشمند گلکسی خود به یک کنترل تلویزیونی به سبک جیمز باند است که به شما امکان میدهد از حرکات و حرکات انگشتان برای کنترل تلویزیون استفاده کنید، حتی از ساعت به عنوان نشانگر برای انتخاب چیزهای مختلف و حرکت استفاده کنید.
در حالی که بعید به نظر می رسد هر دو در دستگاههایی که سامسونگ در سال ۲۰۲۵ عرضه میکند، وجود داشته باشند، این پتنت نشان میدهد که سامسونگ به این ایده روی کاغذ متعهد است و احتمالا میتواند آن را در طرحهای آینده خود پیاده کند. همانطور که اشاره کردیم، انتظار نداشته باشید که در حلقه گلکسی ۲ که امیدواریم در اوایل امسال شاهد آن باشیم، استفاده شود اما به نظر میرسد که در کل تا عرضه این قابلیت توسط سامسونگ، چیزی باقی نمانده است.
منبع: techradar
۵۸۳۲۳





دیدگاهتان را بنویسید